定柱旋臂起重机简介
定柱旋臂起重机是一种与电动葫芦或环链葫芦或手动葫芦等配套使用的轻小起重设备,固定安装在地基或大型设备上,占地、占用净空尺寸小。在工厂、仓库及生产一线使用,可较大地提高工作效率和减轻工人的劳动强度,一直为先进工业国家广泛地采用。
产品图片



定柱式旋臂吊可以根据客户需求设计定制的专用起重设备,具有结构新颖、合理、简单、操作方便、回转灵活、作业空间大等优点,是节能的物料吊运设备,可广泛适用于厂矿、车间的生产线、装配线和机床的上、下工作及仓库、码头等场合的重物吊运。
悬臂起重机属于轻中级工作制,额定工作量为0.25t、0.5t、1t、2t、3t、5t、8t、10t、16t九种规格。根保工作岗位需要选用不同规格型号的起重机,该机具有两种操作形式:电动旋转和手动旋特。旋转臂的回转角度根据使用场所需要可选择180°、270°、340°、360°等不同的角度。
定柱式旋臂起重机的结构形式
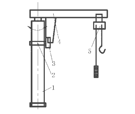
定柱式旋臂起重机机械结构主要由立柱、旋臂组成。工作时,立柱通过地基固定在地面上,承受旋臂和被吊重物产生的弯矩。旋臂依靠安装在立柱上部的旋转支承(调心轴承)和焊在立柱中上部的环形轨道及旋臂支架下部的滚轮支承。旋臂支架装有驱动装置和电动葫芦,驱动装置通电可以使旋臂围绕立柱旋转360°;电动葫芦可以完成重物的升降和水平运动。起重机的动作区域基本上为一圆柱体。其工作过程为:电动葫芦吊起重物,做上下方向运动,葫芦运行小车做左右方向运动,旋臂以立柱为做360°的旋转运动,将重物起吊移所需位置。

1.立柱 2.环形轨道 3.旋臂驱动装置 4.旋臂 5.电动葫芦
定柱式悬臂吊基本型号
BZD定柱式旋臂起重机
BZD型电动全回转悬臂起重机是与CD1型,MD1型电动葫芦配套使用的一种起重机,本起重机由立柱,回转臂回转驱动装置及电动葫芦组成,立柱下端通过地脚螺栓固定在混凝土基础上,由摆线针轮减速装置来驱动悬臂回转,电动葫芦在悬臂工字钢上作左右直线运行,并起吊重物。本起重机结构简单,占地空间少,作业范围大,操作方便,转动灵活,等优点,是节能的物料吊运装备。适用于码头,仓库及车间等固定场所,起重机设有保护装置和保护装置,可行,是理想的起重机械。

BZZ重型旋臂起重机
BZZ重型旋臂起重机是定柱式悬臂起重机的延伸产品,该即采用了回转支承与变截面臂结构,起重高达2-20T,回转半径达7-12米。在操作方式上,用户可选择手电门操作或无线遥控。本机适用于冶金、铁路、码头及机械制造等行业的物料吊运作业。许多场合下可替代桥式起重机和龙门吊作业,投资少、效益高,该产品投放市场后颇得用户好评。

BZZ型旋臂起重机是我公司结合国内外先进技术自行研制开发的重型旋臂起重机。该机具有起重大、工作范图大、结构简单、操作维护方便等优点。它由立柱、变截面臂、回转支驱动装置和电动萌芦或卷扬机组成。旋臂起重机通过底座地脚螺栓固定在混凝土基础上,由电机带动减速机齿轮与回转支承啮合驱动悬臂回转,电动葫芦或卷扬机在封箱臂钢梁上作往返运行作业。在操作方式上,用户可选择于电门操作或无线遥控。该产品广泛应用于冶金、造船、机械、铁路、货场、码头等工作场所,能够完成桥式起重机和门式起重机不能到达的作业区域。
BZN型定柱式旋臂起重机
BZN型旋臂起重机是利用KBK标准直线轨道做为悬臂与PK型环链电动葫芦配套使用,它由于立柱、回转臂和环链葫芦组成。BZN型内挂式旋臂起重机悬臂梁采用空心型钢结构,自重轻强度高、刚性好、结构简单,操作方便,内置式行走结构采用带动滚动轴承的工程塑料滚动,摩擦力小、行走轻快,且结构尺寸小,有利于提高吊钩的垂直行程。立柱下端通过地脚螺栓固定在混凝土基础上,他可以在工作岗位上快速敏捷的吊运物料。该产品广泛应用于工厂车间的生产线、装配线以及仓库、码头等固定场合的短距离、使用频繁的物料调运工作。
DX型定柱式旋臂起重机
DX型旋臂起重机是与PK型环链电动环链葫芦或CD、MD型电动葫芦配套使用的一种起重机械。它由立柱、回转臂、悬臂驱动装置和电动葫芦组成。立柱下端低座通过地脚螺栓固定在混凝土基础上,由电机带动减速机驱动装置使悬臂回转,电动葫芦在悬臂工字钢上作往返运行工作。
DX型旋臂起重机具有结构简单,操作方便,占用空间小,作业范围大等特点。广泛应用于机械制造、汽车、造船等现代工业的生产线、流水线、装配级及仓库、码头、实验室等场合的物料吊运作业中。使企业提高工效,改善劳动条件的理想起重设备。
DX型旋臂起重机技术参数表
厂家优势
旋臂起重机是广泛应用于机械加工过程的起重设备。随着市场竞争的日益激烈,对起重机的质量和价格提出了更高要求。
重科作为有着15年经验的起重机生产厂家,采用现代设计方法和信息技术,对传统设计、计算模型、计算方法进行技术提升,与常规设计对比表明,重科旋臂起重机各结构部件的力学性能,实现了整体经济性和可靠性的匹配。能够生产质高价廉、轻巧美观的旋臂起重机,提高了企业的竞争力和技术创新能力。










